油壓生爪-全包型
SOFT JAWS - FULL WRAP type
特性
全包型生爪主要用於超大外徑之工件,例:薄管,其能完全包覆工件外徑,使其在加工過程中,讓工件變形程度降至最低,提高工件的準確度。

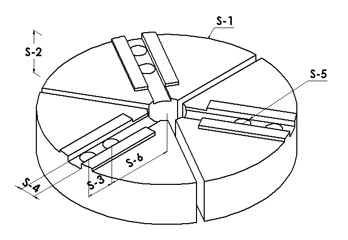
| 品目寸法 型式 |
S-1 | S-2 | S-3 | S-4 | S-5 Bolt Size |
鋸齒狀節距 Serration Pitch |
備註 |
|---|---|---|---|---|---|---|---|
| FW-04032 | 100 | 32 | 14 | 10 | M8 | 1.5 * 60° | |
| FW-05032 | 135 | 32 | 14 | 10 | M8 | 1.5 * 60° | |
| FW-06040 | 169 | 40 | 20 | 12 | M10 | 1.5 * 60° | |
| FW-08040 | 200 | 40 | 25 | 14 | M12 | 1.5 * 60° | |
| FW-08050 | 200 | 50 | 25 | 14 | M12 | 1.5 * 60° | |
| FW-08060 | 200 | 60 | 25 | 14 | M12 | 1.5 * 60° | |
| FW-10050 | 250 | 50 | 30 | 16 | M12 | 1.5 * 60° | |
| FW-12050 | 300 | 50 | 30 | 21 | M16 | 1.5 * 60° | |
| FW-15070 | 380 | 70 | 43 | 22 | M20 | 3.0 * 60° |
